废气处理又称废气净化,废气处理指的是针对工业场所、工厂车间产生的废气在对 外排放前进行预处理,以达到国家废气对外排放的标准的工作。 一般废气处理包括了有机废气处理、粉尘废气处理、酸碱废气处理、异味废气处理 和空气杀菌消毒净化等方面。 产生的废气在对外排放前进行预处理,以达到国家废气对外排放的标准的工作。一般 废气处理包括了有机废气处理、粉尘废气处理、酸碱废气处理、异味废气处理和空气杀菌消 毒净化等方面。
理论:有机废气处理是指对工业生产过程中产生的有机废气进行吸附、过滤、净化的处理工 作。通常有机废气处理有甲醛有机废气处理、苯甲苯二甲苯等苯系物有机废气处理、丙酮丁 酮有机废气处理、乙酸乙酯废气处理、油雾有机废气处理、糠醛有机废气处理、苯乙烯、丙 烯酸有机废气处理、树脂有机废气处理、添加剂有机废气处理、漆雾有机废气处理、天那水 有机废气处理等含碳氢氧等有机物的空气净化处理方式。
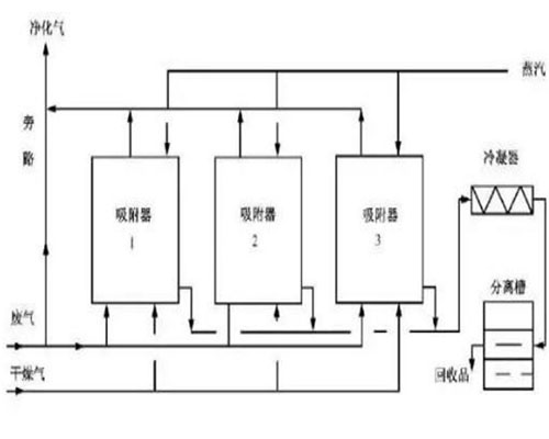
治理方法:
1、冷凝回收法: 把有机废气直接导入冷凝器,经吸附、吸收、解板、分离,可回收有价值的有机物。该 法适用于有机废气浓度高、温度低、风量小的工况,需要附属冷冻设备,主要应用于制药、 化工行业,印刷企业较少采用。


2、吸附法:
(1)直接吸附法:有机废气经活性炭吸附,可达 95%以上的净化率,设备简单、性炭更换频繁,增加了装卸、运输、更换等工作程序,导致运行费用增加
(2) 吸附-回收法:用纤维活性炭吸附再生;本法要求提供必要的蒸汽量;
(3)
吸附-催化燃烧法:此法综合了吸附性炭)吸附,在接近饱和后引入热空气烧,将其彻底净化,热气体在系统中资减省、运行成本降低、维修方便等治理有机废气较成熟、实用的方法。
3、直接燃烧法:
利用燃气或燃油等辅助燃料燃烧,将混合气体加热,使有害物质在高温作用下分解为无害物质;本法工艺简单、投资小,适用于高浓度、小风量的废气,但对安全技术、操作要求较高。
4、催化燃烧法:
把废气加热经催化燃烧转化成无害无臭的二氧化碳和水;本法起燃温度低、节能、净化率高、操作方便、占地面积少、投资投资较大,适用于高温或高浓度的有机废气。
5、吸收法:一般采用物理吸收,即将废气引入吸收液进净化,待吸收液饱和后经加热、解析、冷凝回收;本法适用于大气量、低温度、低浓度的废气处理,但需配备加热解析回收装置,设备体积大、投资较高。

6、纳米微电解氧化法: 纳米微电解净化技术采用纳米级加工的压电性材料,在具有一定湿度的情况下,可以通过微 电解电场产生纳米微电解材料的电性吸附并释放出大量羟基负离子对气体中的需氧类污染 物进行净化,不仅可以去除空气中大部分有机物,而且还能分析如氨氮、硫化氢等无机臭气。
7、热力燃烧法:
使用蓄热式热力氧化炉 RTO 进行有机废气处理,可以达到高效节能的双重效果。适合处理有机废气的范围广,处理效率高。RTO 设备目前已经广泛用于涂布、印刷、喷涂、医药等行业。
